디지털 오디오 개론 강좌 13


그림 1. 디지털 오디오 방송 개념도
디지털 오디오 방송의 신호 처리 과정에는 소스 코딩(Source Coding)과 채널 코딩(Channel Coding)이라는 두 가지의 중요한 과정이 있다. 소스 코딩은 데이터의 중복성을 줄이는 것과 같은 데이터 압축 과정으로, 가능한 좁은 방송·통신 채널의 통로(주파수 대역폭)를 효율적으로 이용하고자 하는 과정이고, 채널 코딩은 멀티 패스 및 페이딩(Fading)과 같은 방송·통신 경로상에서 나타나는 장애를 잘 극복할 수 있게끔 신호를 가공하는 과정이다. 예를 들면, 데이터 신호를 여러 주파수 대역으로 나누어 보낸 다음 이를 수신단에서 받아 하나의 데이터로 합하는 채널 코딩 방법을 사용한다면 일부의 주파수 대역에서 방송·전송 장애가 있어도 전체적인 신호 전달에는 큰 영향을 미치지 않으므로 디지털 신호 오류 검출·정정을 통해 복구될 수 있도록 하는 방법 등이 많이 사용되고 있다. 실제에 있어 송신 측에서는 수신 측이 사전에 알고 있는 훈련 신호열(Training Sequence)을 전송 신호 가장 앞단에 위치시켜 전송시키고, 수신단에서는 이를 받아 분석해 전송 경로상의 특성을 파악해 이를 교정하는 이른바 적응등화(Adaptive Equalization)라는 기법을 많이 사용한다. 이 기법을 통해서 멀티 패스 장애 등에 대해 잘 대처할 수 있고, 특히 차량 수신과 같이 이동 수신하는 경우 시간에 따른 신호의 변화에 효과적으로 대처할 수 있다. 이러한 이동 수신의 경우에는 다이버시티(Diversity) 기법을 사용하기도 한다. 주파수적으로 또는 시간적으로 경우에 따라서는 양자를 모두 사용하는 다이버시티 기법을 사용하기도 하는데, 데이터를 중복적으로 보내지만 이를 통해 더 수신율을 높이는데 크게 기여한다. 수신 측에서는 복수 개의 안테나를 사용해 가장 강한 신호가 들어오는 것을 선택하기도 하고, 여러 개의 안테나에서 들어오는 신호를 이용해서 복잡한 신호 처리 과정을 통해 간섭을 최대한 배제한 신호를 걸러서 얻기도 한다. DMB 또는 DAB는 이러한 고도의 소스 코딩, 채널 코딩 및 다이버시티 기법을 효과적으로 사용하도록 설계된 방송 방식으로, 실내 수신뿐 아니라 이동 수신 및 개인 휴대 수신과 같은 어려운 수신 환경에서도 잘 작동되도록 설계되어 있다. DAB는 여러 형태로 방송될 수 있다. 가장 일반적인 것이 지상파로, 수도권의 경우 관악산, 남산, 그리고 경기도 용문산의 3곳에 있는 방송탑을 사용한다. 특이점으로는 일반 FM보다 1/10 정도의 출력으로도 더 넓은 지역에서 수신이 가능할 정도로 효율이 뛰어나다. 유럽이나 미국의 평야 지대에서는 심지어 1/100 정도의 출력으로도 안정적인 수신이 가능할 정도다. 따라서 지상파 DAB 방송은 비교적 적은 비용으로 신속하게 시작할 수 있는 장점이 있다.DAB 방송은 정지 위성을 사용해 위성 방송도 가능하다. 위성 DMB가 대표적인 것이다. 대륙을 횡단하는 장거리 운전자 등을 대상으로 미국에는 위성 라디오 방송이라고 불리는 시리우스(Sirius)란 위성 DAB 방송을 하고 있다. 위성은 S 밴드(2050MHz) 주파수 대역을 사용하며, 비교적 큰 출력으로 방송하기 때문에 수신기는 무지향성의 안테나로도 용이하게 수신할 수 있다. 보통 차량용 루프 안테나로 많이 탑재된다. 위성 오디오 방송은 위성체 발사 및 운용뿐 아니라 위성으로부터 직접 신호를 받지 못하는 음영 지역까지 신호를 전달하기 위해 갭 필러(Gap Filler)라고 하는 중계기를 대량으로 설치해야 하기 때문에 투자 운용비가 많이 드는 단점이 있다. 이외에 디지털 오디오 방송은 현재 크게 확산되고 있는 디지털 케이블 방송과 스카이라이프와 같은 디지털 위성 TV 방송의 한 부분으로도 시행되고 있다. 오디오 방송은 TV 방송보다 요구하는 주파수 대역폭이 크지 않으므로 다양한 장르의 음악 방송을 할 수 있기도 하다. 보통 MPEG Layer 2나 MPEG 2 AAC 등의 코덱을 사용하며, 2채널 스테레오로 128kbps 정도의 데이터 전송률을 갖는다.
2. 기술적 요소 디지털 오디오 신호는 기본적으로 PCM 신호로부터 출발한다. 보통 16비트/48kHz PCM 신호를 기본 데이터로 하는데, 효과적으로 압축해서 전송하기 위해 PCM 신호보다 1/5에서 1/10 정도의 압축률을 갖는 MPEG 오디오 신호로 압축해서 사용하는 경우가 일반적이다. 이유는 PCM 상태로 그대로 전송하기 위해서는 대략 2MHz 정도의 대역이 필요한데, 이는 FM 방송이 240kHz 정도의 대역폭을 갖는 것보다 훨씬 더 넓은 대역폭을 요구하기 때문에 비현실적이기 때문이다. 따라서 청감상 PCM 신호와 차이를 느끼기 힘든 정도로 압축을 하는데, 256kbps 정도 이하의 전송량을 갖도록 설계한다. 디지털 오디오 방송용으로는 여러 가지 청각인지 코딩 방법이 사용될 수 있고, 데이터 전송량도 256kbps, 128kbps, 96kbps 및 32kbps의 전송량 중에서 하나로 결정된다. 코딩 방법에 따라 달라지지만 CD 정도의 음질을 전달하기 위해서는 적어도 96kbps 이상의 전송 속도가 요구된다. 디지털 오디오 방송에 있어 여러 가지 결정해야 할 기준들이 있는데, 열거해 보면 다음과 같다. · 전송 음질· 안정적 수신이 가능한 수신 지역· 아날로그와 디지털 방송 신호의 간섭· 지나가는 항공기 등에 의한 신호 세기의 급격한 변화· 송전선 등으로부터 간섭과 빌딩 밀집 지역에서의 전파 경로 장애 · 실내 및 이동 수신으로 인한 추가적인 수신 장애· 데이터 방송 수신 등을 위한 추가적인 데이터 전송 이러한 점 등을 고려해 디지털 오디오 방송에 있어서는 가급적이면 대역폭을 많이 차지하지 않으면서도 충분한 데이터 전송량을 갖고, 낮은 에러율로 적절한 출력을 가지고도 안정적인 방송을 하도록 설계한다. 특히 에러 발생율을 적정 값 이하로 유지될 수 있도록 해야 하는데, 디지털 오디오 방송에서는 대략 10-4 이하의 BER(Bit Error Rate)가 되도록 설계한다. 반면에 디지털 TV 방송이나 DMB인 경우 BER은 10-9 이하로 유지시켜야 안정적인 수신이 가능하다. 이를 판단하는 기준으로 수신 신호의 C/N율(Carrier to Noise Ratio)을 많이 사용한다. 디지털 신호의 전송에서는 낮은 C/N율로도 안정적인 신호 수신이 가능한 것이 아날로그 방송에 비해 큰 장점이다. 이 때문에 같은 크기의 지역에 안정적인 수신을 하는데 필요한 C/N율이 디지털 방송인 경우 6dB 정도면 되지만, FM 방송의 경우 30dB 정도를 요구한다. 이와 같은 24dB의 차이는 지형에 따라 다르지만 1/10-1/100의 작은 송신 출력으로도 같은 면적에 대해 안정적인 수신을 가능케 한다는 것이다.디지털 방송은 그 특성이 이른바 벽돌담(Brick Wall) 특성이라고 하는 현상이 있는데, 안정적인 수신을 위한 일정한 C/N 값이 확보되지 못하면 급격히 BER 값이 높아져서 수신이 되지 않는 현상이 나타난다. 즉, 아날로그 방송과 같이 서서히 수신율이 떨어지는 것이 아니라 어느 C/N 값이 확보되지 못하면 작은 차이로 급격하게 수신율이 떨어져 수신이 완전히 불가능해지는 현상이 나타난다.

그림 2. 멀티 패스 간섭 장애 현상

그림 3. 위상 편이 기법
디지털 통신이나 방송에서는 전송에 있어 변조하기 전에 소요되는 대역폭을 줄이기 위해 펄스 쉐이핑(Pulse Shaping) 기법을 사용하며, 이를 위해 전송할 데이터 신호의 고주파 신호 성분을 줄일 수 있도록 저역 통과 필터를 사용한다. 한편 멀티 패스 간섭 장애 현상도 디지털 통신과 방송에서 빈번하게 나타나는 현상인데, 이는 <그림 2>에서 보는 바와 같이 방송되는 신호를 직접 받는 동시에 시간차를 두고 근처의 빌딩 등에서 반사되어 들어오는 반사파를 같이 받음으로써 혼란이 생기는 것이다. 시간차는 보통 5㎲ 정도이나 약한 반사파는 20㎲ 정도로 늦어지기도 한다. 이 멀티 패스 간섭 장애는 수신체가 이동하는 경우에는 더욱더 심각한 영향을 미치게 된다. 이는 단순히 방송 출력을 높이는 것으로도 해결되지 않는다는데 더 큰 어려움이 있다.이러한 멀티 패스 간섭 장애는 특정 주파수에 따라 그 영향이 많고 적음이 결정되기 때문에 전송할 데이터를 여러 주파수에 나누어 실어 보내는 주파수 분할 방식(Frequency Division Multplexing)을 사용하면 간섭 장애를 극복하는데 상당한 도움이 된다. 이는 하나의 주파수 대역을 여러 개의 서브 대역으로 나누어서 전송하고자 하는 데이터를 서브 대역의 수만큼 나누어 각 서브 대역별로 변조를 해서 전송하는 방식이다. 이렇게 하면 전송 효율은 다소 낮아지지만 멀티 패스 간섭 장애는 특정 대역의 주파수에 집중되는 경향이 있기 때문에 전체적으로는 멀티 패스 간섭 장애를 덜 받는 결과가 얻어진다. 또한 위상 편이 기법(Phase Shift Keying)도 많이 사용된다. 이를 통해 주어진 신호 세기에서 낮은 BER 값을 얻을 수 있기 때문이다. 두 개의 위상 상태만을 사용하는 BPSK(Binary Phase Shift Keying)는 <그림 3-a>와 같은데, 연속되는 데이터가 같은 위상일 경우 '0'으로 해석하고 위상이 180° 다를 경우는 '1'로 해석하는 기법으로, <그림 3-b>와 같이 이진 신호로 코딩되어 사용한다. 하지만 BPSK는 전송 데이터양이 적기 때문에 실제 적용에 있어서는 4개의 위상 상태를 사용하는 QPSK(Quadrature Phase Shift Keying)를 디지털 위성 방송이나 이동 통신 등에서 많이 사용한다. QPSK는 <그림 3-c>에서 보는 바와 같이 위상 차이가 0°일 때는 '11'이, 90°일 경우는 '10'이, 180°일 경우는 '00'이, 그리고 270°일 경우는 '01'이 출력된다. 이 방법으로 고속의 데이터 전송률을 달성할 수 있다. 좀더 위상 변화를 세분하는 8-PSK나 16-PSK 방법을 사용하면 데이터 전송률을 더욱 높일 수 있다. 하지만 충분한 BER을 얻기 위해서는 C/N 값도 따라서 높아져야 한다.M-PSK 신호가 요구하는 대역폭은 아래의 <식 1>에 의해 구해진다. 여기서 D는 데이터 전송률이다.


가장 진화된 스마트 DMB 화면
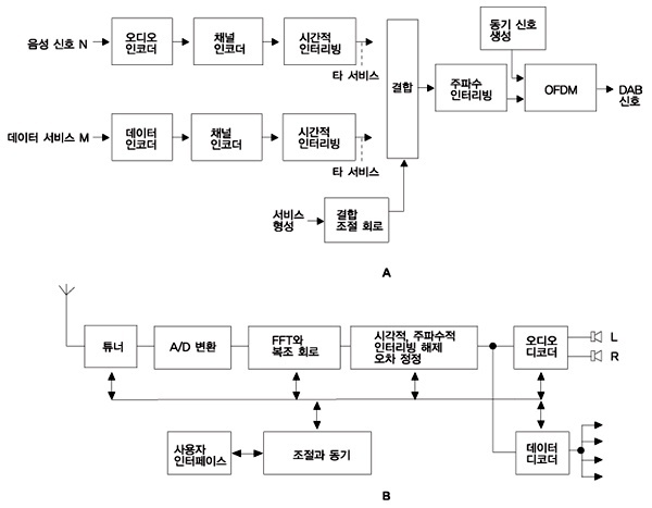
3. EUREKA-147 EUREKA-147은 유럽 국가의 공동 연구 프로젝트로, 1986년부터 시작이 되어 1995년에 완성된 시스템이다. 지상파 방송뿐 아니라 위성 및 지상파를 혼합한 시스템 및 케이블 방송에서까지 사용될 수 있는 시스템이다. 1995년에 영국에서부터 본격적인 정규 방송이 시작된 이래 대부분의 유럽 국가를 포함, 일부의 아시아 국가와 호주, 뉴질랜드에서 사용 중인 디지털 오디오 방송 시스템이다. 우리나라에서는 이 EUREKA-147 시스템을 기본으로 해서 확장 규격으로 오디오뿐 아니라 동영상 및 각종 데이터까지 보낼 수 있는 DMB 시스템으로 발전시켜 사용 중에 있으며, 현재에는 이동 통신망과 결합해서 다양한 데이터 방송을 할 수 있는 스마트 DMB 방송으로 발전되었다.이 EUREKA-147은 전통적인 방송 방식에 비해 많은 혁신적인 요소를 갖고 있다. 기존의 방송은 하나의 주파수 대역을 하나의 방송이 사용하는 형식이었다. 이렇게 한 주파수 대역만을 사용하면 때와 장소에 따라서 멀티 패스 장애 혹은 주의의 공장이나 기계 작동에서 발생하는 전자파 장애와 같은 그 주파수 대역에만 강하게 미치는 장애에 대해서는 크게 취약할 수밖에 없다. 거기다가 방송국 간 서로 간섭을 일으키는 것을 방지하기 위해 가드 밴드(Guard Band)라고 하는 방송국이 사용하는 주파수 중간의 일정 주파수 대역을 비워 놓아야 하는 단점도 있다. 이에 비해 EUREKA-147은 일단 여러 오디오 채널의 데이터를 묶어서 하나의 결합 데이터로 한 다음, 이를 넓은 주파수 대역에 시간적으로 또 주파수적으로 분산 배치해서 전송한다. 또한 수신기도 하나의 주파수에만 동조되는 것이 아니라 방송 주파수 전역에 대해 고속 푸리에 변화(Fourier Transform) 처리를 해서 많은 반송파 중에서 원하는 데이터를 갖고 있는 반송파들만을 골라 디코딩해 데이터를 추출해서, 이를 일련의 과정을 거쳐 최종적으로 A/D 변환을 해서 오디오 신호를 생성해 내는 방법을 사용한다. 이 방법의 장점은 주파수 활용 면에서 경제적이고, 송신 출력을 줄일 수 있으며, 멀티 패스 페이딩(Multi-Path Fading) 환경에 잘 대응할 수 있다는 점이다. 특히 이런 장점 때문에 이동 수신에도 아주 강한 특성을 갖는다. 오디오 데이터는 다른 보조 데이터와 함께 채널별로 인코딩되고, 에러 방지를 위해 데이터를 서로 섞는 인터리빙(Interleaving) 과정을 거친다. 멀티플렉서는 주 서비스 채널(Main Service Channel)을 만들기 위해 여러 서로 다른 서비스를 합하는 기능을 수행한다. 출력된 데이터는 주파수적으로 인터리빙된 다음 동기를 맞추기 위한 심벌 데이터가 추가된다. 마지막 단계로 채널 코딩이 수행되는데, 이 채널 코딩은 각각의 부반송파 대역별로 COFDM(직교 주파수 분할 다중 : Coded Orthogonal Frequency-Division Multiplexing)이라는 기법으로 QPSK 변조를 해서 사용한다.

그림 4. OFDM의 원리
COFDM 기법은 디지털 방송의 전송 기법 중에 가장 각광받는 기법의 하나로, 여러 가지 우수성 때문에 방송뿐 아니라 4G, 와이브로(WiBro) 등 최첨단 이동 통신에서도 널리 사용되고 있는 방식이다. 이는 방송에 사용할 주파수 대역을 작게는 192개에서 많게는 1536개의 부반송파로 잘게 나누어 각각의 반송파에 데이터를 실어 나르는 방식인데, 이 여러 개의 부반송파 사이에는 어떠한 상관관계도 갖지 않도록 설정한다. 이렇게 부반송파가 상관관계를 갖지 않도록 하는 것을 직교성(Orthogonal)을 갖게 설정한다고 하는데, 실제적으로는 <그림 4>에서 보는 바와 같이 정확히 정수배가 되는 주파수만을 사용하면 직교성이 확보된다(직교성을 갖게 되면 각 부반송파의 진폭이 최대가 되는 주파수에서 다른 부반송파의 크기는 모두 '0'이 된다). 각 부반송파가 전달하는 데이터양은 많지 않지만 여러 개의 반송파를 사용하므로 총량은 그리 떨어지지 않는다. 각 부반송파는 전달되는 신호가 지연되는 시간보다 더 긴 시간 동안 심벌 데이터 전송 시간이 길어지도록 설정하며, 이들 부반송파에 실리는 데이터는 푸리에 변환해서 생성한다.이같이 여러 개의 부반송파로 나누어 전송하는 것은 하나의 트럭에 모든 데이터를 싣고 나르는데 비해 적재 용량은 작지만 여러 대의 오토바이에 나누어 데이터를 나르는 것으로 비유할 수 있다. 만약 도로 중앙에 함몰이 생겼다고 가정할 경우 트럭은 더이상 전진하지 못하지만, 오토바이로 나르는 경우 일부의 오토바이는 통과하지 못한다고 해도 나머지 오토바이에 실은 데이터는 무사히 전송이 가능하므로 전송 완료된 데이터를 가지고 전송되지 못한 데이터를 에러 정정 방식으로 복원하는 방식이다. 여기서 도로에 장애물이 있는 것은 특정 주파수에 있어 장애가 있는 것으로 비유할 수 있는데, 이 같이 여러 개의 주파수로 나누어 사용함으로써 전송 대역 주파수의 일부 주파수대에 장애가 있어도 쉽게 극복할 수 있는 것이 COFDM의 큰 장점이다. 이와 같이 주파수를 다양화하는 주파수 다이버시티(Frequency Diversity) 기법에 시간적인 다이버시티 기법을 도입함으로써 더욱 더 데이터 전송이 강인하도록 한다. 이에 추가해서 가드 인터벌(Guard Interval)이 사용되는데, 이는 각 변조된 신호 심벌 사이에 넣어지는 것으로, 그 지속 시간은 다르게 설정할 수 있지만, 대략 심벌 지속 시간의 1/4 정도를 잡는다. 이렇게 해서 200㎲ 사이에 들어오는 지연 신호에 대한 장애를 방지할 수 있고, 에러 정정 효과를 높일 수 있다. 한 단계 더 나아가 길쌈 부호(Convolution Coding)를 사용해서 에러 정정 효과를 높일 수 있도록 한다. 이런 여러 최신 기법을 사용한 덕분에 COFDM은 고정 수신뿐 아니라 실내 수신 및 이동 수신에서도 잘 대응하는 좋은 특성을 가지고 있다. 이 EUREKA-147은 오디오 데이터를 MP3과 유사한 MPEG Layer 2를 사용하는데, 이 MPEG 데이터의 전송에 있어 최적화된 에러 발생 억제 및 에러 정정 기법을 사용한다. 전송하는 MPEG 데이터는 중요도에 따라 MPEG 프레임 내의 데이터에 대해 3단계의 보호 조치를 한다. MPEG 프레임의 헤더와 비트 할당 정보가 가장 중요하므로 최상의 보호를 받고, 다음에 스케일 팩터(Scale Factor)와 서브 밴드 오디오 샘플이 그 뒤를 잇는다. EUREKA-147의 수신기의 구조는 <그림 5-b>와 같다. 수신기는 아날로그 FM 수신기와 같이 원하는 앙상블 주파수를 선택한 다음 필터링을 거친 후 QPSK 디코딩을 해서 디지털 신호로 변환된다. 그 이후 FFT(Fast Fourier Transform)을 하고 시간축과 주파수축 상에서 인터리빙했던 신호를 다시 재정렬한다. 이후 에러 정정 과정을 거치면 디지털 오디오 신호가 추출되는데, 한 앙상블에는 5-10개 정도의 디지털 오디오 방송국이 합쳐져 있으므로 그 중에서 원하는 방송국의 신호를 선택하면 듣고자 하는 순수 디지털 오디오 데이터가 얻어진다. 이 디지털 오디오 데이터는 D/A 변환 과정을 거쳐 아날로그 신호로 출력된다.

그림 5. EUREKA-147 송수신기 구조
DAB 방송은 규격상 3가지 모드로 서로 다른 주파수대에서 방송을 할 수가 있다. 우리나라의 DMB 방송을 포함한 가장 일반적인 주파수대는 모드 1로, 375MHz 이하의 대역을 사용한다. 이 대역은 우리나라에서는 채널 7에서 11 사이의 VHF TV 대역으로 사용하고 있다. 방송 수신 구역이 넓어 지상파 방송으로 적합한 대역으로 1536개의 부반송파를 사용하는데, 프레임 지속 시간은 96㎳이다. 하나의 DAB 방송 주파수 대역은 1.53MHz로 유효 데이터 전송률은 0.6-1.7Mbps이지만 통상 1.1Mbps 정도를 가장 많이 사용한다. 디지털 오디오 방송에는 2채널 스테레오로 통상 96kbps에서 128kbps를 사용하므로 하나의 DAB 방송 대역으로 8-11개 정도의 방송 프로그램을 송출할 수 있다. 샘플링 주파수로는 일반적으로 16비트/48kHz를 주로 사용한다. 24kHz의 샘플링 주파수 사용도 옵션으로 규격에는 준비되어 있다. DAB 규격에 따르면 2채널 스테레오뿐 아니라 5.1채널 서라운드 방송도 가능하지만 실제 서라운드 방송을 하는 경우는 거의 없다. 모드 2는 24㎳의 프레임 지속 시간을 갖고 384개의 부반송파를 사용하는데, 주로 1.5GHz 이하의 주파수에서 사용한다. 이는 UHF TV 주파수 대역으로 지역 방송에 적합하지만 실제 사용하는 경우는 그리 많지 않다. 모드 3은 프레임 지속 시간이 모드 2와 같이 24㎳이지만 192개의 부반송파를 하며 주파수 대역은 3GHz 이하이다. 가장 많이 사용되는 대역은 2.3GHz 대역이며, 위성 DAB 방송에 적합하다. 도심 지역과 같이 건물이 밀집되어 있는 곳에서는 직접 위성으로부터 신호 수신이 힘든 지역이 많으므로 갭 필러(Gap Filler)라고 하는 소형 중계기를 설치해서 사용한다. 우리나라에서는 현재 위성 DMB가 이 대역을 사용해서 디지털 오디오 방송뿐 아니라 모바일 TV 방송을 하고 있다. 4. HD 라디오 HD 라디오는 미국에서 개발하고 거의 미국에서만 사용하는 디지털 오디오 방송 포맷이다. 가장 큰 특징은 기존의 FM 방송(88-108MHz)과 AM 방송 대역(510-1710kHz)을 그대로 사용하고, 방송도 동시에 내보낼 수 있는 하이브리드 방송이라는 점이다. 아날로그 방송과 디지털 방송이 공존하다가 아날로그 방송이 종료되는 시점에서는 전 대역을 디지털화해서 방송이 가능하다. 기존의 아날로그 방송을 그대로 유지하면서 디지털화를 추진할 수 있어 디지털 전환 비용이 적게 드는 장점이 있지만 전 세계적으로 거의 표준이 되다시피 한 EUREKA-147 시스템과는 전혀 호환이 되지 않는 등 단점도 많다.더 전문적으로는 IBOC(In-Band On-Channel) 시스템이라고 불린다. 같은 대역을 사용해서 방송하기 때문에 아날로그 방송과 디지털 방송이 서로 간섭을 일으키기 쉬운데, 디지털 방송은 아날로그 방송보다 전파 장애에 강한 특성을 최대한 이용한다. <그림 6>에서 보는 바와 같이 디지털 방송은 아날로그 방송보다 25dB 정도로 충분히 낮은 출력으로 방송을 한다. 이 정도의 출력이면 아날로그 방송 쪽에서 보는 디지털 방송에서 나오는 신호의 간섭은 잡음 수준의 장애인 반면, 디지털 방송에서는 강한 주파수 간섭 배제 능력으로 아날로그 방송의 큰 출력을 이겨낼 수 있다. HD 라디오 수신기는 매우 강한 인접의 FM 신호를 배제하고 디지털 신호를 추출하기 위해 암호화 방법을 사용한다.

그림 6. FM 및 AM의 IBOC 주파수

그림 7. FM 라디오의 개념
한편 아날로그 FM 수신기는 신호 세기가 약한 신호를 배제하는 능력이 원천적으로 좋다. 그렇기 때문에 ASK 방법으로 변조되어 25dB 정도 낮게 들어오는 디지털 신호의 영향을 크게 받지 않고 안정적인 수신이 가능하다. 디지털 신호가 PSK 방법으로 위상 변조된 경우는 FM 신호보다 45dB 정도 낮아도 되므로 이러한 디지털 신호로 부터의 간섭을 거의 완전히 배제할 수 있다. 하지만 HD 라디오 수신기 쪽에서는 디지털 신호를 추출하기 더욱 어렵기 때문에 적응형 트랜스버설 필터(Adaptive Transversal Filter)를 사용하고 이미 알려진 아날로그 FM 방송의 주파수 정보를 이용해 역으로 신호를 추출하는 방법 등 최신 디지털 전송 기법을 사용한다. 구체적으로 IBOC 시스템의 구조를 보면 <그림 7>에서와 같이 전체 FM 주파수 대역 480kHz에서 신호 대역으로 240kHz이 사용되고 나머지는 가드 밴드로 다른 FM 방송국과의 신호 간섭 방지용으로 사용된다. 인접 FM 방송국 사이에는 400kHz의 가드 밴드로 빈 공간이 존재하게 되는데, IBOC 시스템에서는 이 가드 밴드 주파수 대역을 디지털 방송용으로 사용한다.AM 방송도 마찬가지로 IBOC 시스템을 적용할 수 있다. <그림 6-b>가 AM 방송을 이용한 IBOC 시스템으로, AM 방송국 하나가 37.5kHz의 주파수 대역을 사용해 20.4kHz의 주파수 대역에서 신호를 송신하며, 방송국 간의 간격이 10kHz인 점을 이용해 가드 밴드 대역에서 디지털 방송을 한다. 아날로그 방송에는 영향을 주지 않기 위하여 아날로그 방송 출력보다 25dB 낮게 디지털 출력을 설정한다.

FM IBOC 신호 사진

HD 라디오 수신기

HD 라디오 수신 프로그램 FM 대역을 이용한 IBOC 시스템이 AM 대역을 이용한 IBOC 시스템보다 사용할 수 있는 주파수 대역이 넓기 때문에 디지털 방송에 사용할 수 있는 데이터 전송률은 256kbps 정도로 AM의 96-128kbps보다 많아 CD 수준의 스테레오 2채널 방송이 가능하다. 한편 AM 대역을 이용한 IBOC 시스템 경우도 MP3 정도의 음질로 스테레오 2채널 방송이 가능하기 때문에 아날로그 AM보다는 훨씬 우수한 품질의 오디오 방송이 가능하다. 또한 멀티 패스 장애를 받지 않아 좀더 안정적인 수신이 가능하다는 것도 장점이다.실제 미국에서는 FM 방송 대역을 이용한 IBOC 시스템이 일반적이고, 이를 상업적으로 HD 라디오라고 부른다. HD 라디오 수신기는 아날로그 FM 방송도 동시에 수신할 수 있도록 준비되어 있는 경우가 일반적인데, 아날로그 FM이나 HD 라디오 중에서 수신 상태가 양호한 것을 골라 들을 수 있게 하고 있다. FM 방송국 또한 현재 HD 라디오 방송과 FM 방송을 동시에 송출하는 예가 증가하고 있다. 이러한 과도 기간을 거쳐 미래의 적정한 시점에는 아날로그 FM 방송은 중지되고 그 대역을 모두 디지털 HD 라디오 방송으로 사용하는 때가 도래할 것이다. 이렇게 되면 디지털 오디오 방송 프로그램도 크게 증가시킬 수 있다.HD 라디오는 HDC(High Definition Coding)이라고 하는 독자적인 방법으로 오디오 데이터를 압축하고 코딩한다. 이는 MPEG-4 고효율 AAC(High Efficiency Advanced Audio Coding) 기법에 기반을 둔 방법이지만 서로 호환성을 갖는 것은 아니다. 특히 HDC는 SBR(Spectral Band Replication)이라고 하는 스펙트럼 대역 복제 기법을 사용해 고역대의 신호를 거의 보내지 않고 저역대의 신호 패턴을 이용해 이를 생성함으로써 데이터 압축 효율을 크게 높이고 있다. 신호 전송에 있어서도 FM IBOC은 EUREKA-147과 같이 OFDM 방법을 채택해 이동 수신 기능에 많은 노력을 하고 있다.
저작권자 © 월간 오디오 무단전재 및 재배포 금지


